

gaoshengkeji@163.com

一、斷路器
低壓斷路器俗稱自動開關或空氣開關,用于低壓配電電路中不頻繁的通斷控制。在電路發生短路、過載或欠電壓等故障時能自動分斷故障電路,是一種控制兼保護電器。
斷路器的種類繁多,按其用途和結構特點可分為DW型框架式斷路器、DZ型塑料外殼式斷路器、DS型直流快速斷路器和DWX型、DWZ型限流式斷路器等。框架式斷路器主要用作配電線路的保護開關,而塑料外殼式斷路器除可用作配電線路的保護開關外,還可用作電動機、照明電路及電熱電路的控制開關。
下面以塑殼斷路器為例簡單介紹斷路器的結構、工作原理、使用與選用方法。
斷路器的結構和工作
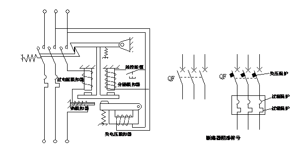
斷路器主要由3個基本部分組成,即觸頭、滅弧系統和各種脫扣器,包括過電流脫扣器、失壓(欠電壓)脫扣器、熱脫扣器、分勵脫扣器和自由脫扣器。

圖1是斷路器工作原理示意圖及圖形符號
斷路器開關是靠操作機構手動或電動合閘的,觸頭閉合后,自由脫扣機構將觸頭鎖在合閘位置上。當電路發生上述故障時,通過各自的脫扣器使自由脫扣機構動作,自動跳閘以實現保護作用。分勵脫扣器則作為遠距離控制分斷電路之用。
過電流脫扣器用于線路的短路和過電流保護,當線路的電流大于整定的電流值時,過電流脫扣器所產生的電磁力使掛鉤脫扣,動觸點在彈簧的拉力下迅速斷開,實現短路器的跳閘功能。
熱脫扣器用于線路的過負荷保護,工作原理和熱繼電器相同。
失壓(欠電壓)脫扣器用于失壓保護,如圖1-8所示,失壓脫扣器的線圈直接接在電源上,處于吸合狀態,斷路器可以正常合閘;當停電或電壓很低時,失壓脫扣器的吸力小于彈簧的反力,彈簧使動鐵心向上使掛鉤脫扣,實現短路器的跳閘功能。
分勵脫扣器用于遠方跳閘,當在遠方按下按鈕時,分勵脫扣器得電產生電磁力,使其脫扣跳閘。
不同斷路器的保護是不同的,使用時應根據需要選用。在圖形符號中也可以標注其保護方式,如圖1-8所示,斷路器圖形符號中標注了失壓、過負荷、過電流3種保護方式。
低壓斷路器選擇原理
低壓斷路器的選擇應從以下幾方面考慮:
(1)斷路器類型的選擇:應根據使用場合和保護要求來選擇。如一般選用塑殼式;短路電流很大時選用限流型;額定電流比較大或有選擇性保護要求時選用框架式;控制和保護含有半導體器件的直流電路時應選用直流快速斷路器等。
(2)斷路器額定電壓、額定電流應大于或等于線路、設備的正常工作電壓、工作電流。
(3)斷路器極限通斷能力大于或等于電路最大短路電流。
(4)欠電壓脫扣器額定電壓等于線路額定電壓。
(5)過電流脫扣器的額定電流大于或等于線路的最大負載電流。
二、控制器
控制器是一種手動操作,直接控制主電路大電流(10A~600A)的開關電器。常用的控制器有KT型凸輪控制器、KG型鼓型控制器和KP型平面控制器,各種控制器的作用和工作原理基本類似,下面以常用的凸輪控制器為例進行說明。
凸輪控制器是一種大型的手動控制器,主要用于起重設備中直接控制中小型繞線式異步電動機的起動、停止、調速、換向和制動,也適用于有相同要求的其他電力拖動場合。
凸輪控制器主要由觸頭、轉軸、凸輪、杠桿、手柄、滅弧罩及定位機構等組成。圖2為凸輪控制器的結構原理示意圖及圖形符號。凸輪控制器中有多組觸點,并由多個凸輪分別控制,以實現對一個較復雜電路中的多個觸點進行同時控制。由于凸輪控制器中的觸點多,每個觸點在每個位置的接通情況各不相同,所以不能用普通的常開常閉觸點來表示。圖2(a)所示為1極12位凸輪控制器示意圖,圖2(b)所示圖形符號表示這一個觸點有12個位置,圖中的小黑點表示該位置觸點接通。由示意圖可見,當手柄轉到2、3、4和10號位時,由凸輪將觸點接通。圖2(c)所示為5極12位凸輪控制器,它是由5個1極12位凸輪控制器組合而成。圖2(d)所示為4極5位凸輪控制器的圖形符號,表示有4個觸點,每個觸點有5個位置,圖中的小黑點表示觸點在該位接通。例如,當手柄打到右側1號位時,2、4觸點接通。
由于凸輪控制器可直接控制電動機工作,所以其觸頭容量大并有滅弧裝置。凸輪控制器的優點為控制線路簡單、開關元件少、維修方便等,缺點為體積較大、操作笨重、不能實現遠距離控制。目前使用的凸輪控制器有KT10、KTJl4、KTJl5及KTJl6等系列。

圖2凸輪控制器的結構原理示意圖及圖形符號
三、接觸器
接觸器主要用于控制電動機、電熱設備、電焊機、電容器組等,能頻繁地接通或斷開交直流主電路,實現遠距離自動控制。它具有低電壓釋放保護功能,在電力拖動自動控制線路中被廣泛應用。
接觸器有交流接觸器和直流接觸器兩大類型。
下面介紹交流接觸器。

圖3交流接觸器的結構示意圖及圖形符號
交流接觸器的組成部分
(1)電磁機構:電磁機構由線圈、動鐵心(銜鐵)和靜鐵心組成。
(2)觸頭系統:交流接觸器的觸頭系統包括主觸頭和輔助觸頭。主觸頭用于通斷主電路,有3對或4對常開觸頭;輔助觸頭用于控制電路,起電氣聯鎖或控制作用,通常有兩對常開兩對常閉觸頭。
(3)滅弧裝置:容量在10A以上的接觸器都有滅弧裝置。對于小容量的接觸器,常采用雙斷口橋形觸頭以利于滅弧;對于大容量的接觸器,常采用縱縫滅弧罩及柵片滅弧結構。
(4)其他部件:包括反作用彈簧、緩沖彈簧、觸頭壓力彈簧、傳動機構及外殼等。
接觸器上標有端子標號,線圈為A1、A2,主觸頭1、3、5接電源側,2、4、6接負荷側。輔助觸頭用兩位數表示,前一位為輔助觸頭順序號,后一位的3、4表示常開觸頭,1、2表示常閉觸頭。
接觸器的控制原理很簡單,當線圈接通額定電壓時,產生電磁力,克服彈簧反力,吸引動鐵心向下運動,動鐵心帶動絕緣連桿和動觸頭向下運動使常開觸頭閉合,常閉觸頭斷開。當線圈失電或電壓低于釋放電壓時,電磁力小于彈簧反力,常開觸頭斷開,常閉觸頭閉合。
接觸器的主要技術參數和類型
(1)額定電壓:接觸器的額定電壓是指主觸頭的額定電壓。交流有220V、380V和660V,在特殊場合應用的額定電壓高達1140V,直流主要有110V、220V和440V。
(2)額定電流:接觸器的額定電流是指主觸頭的額定工作電流。它是在一定的條件(額定電壓、使用類別和操作頻率等)下規定的,目前常用的電流等級為10A~800A。
(3)吸引線圈的額定電壓:交流有36V、127V、220V和380V,直流有24V、48V、220V和440V。
(4)機械壽命和電氣壽命:接觸器是頻繁操作電器,應有較高的機械和電氣壽命,該指標是產品質量的重要指標之一。
(5)額定操作頻率:接觸器的額定操作頻率是指每小時允許的操作次數,一般為300次/h、600次/h和1200次/h。
(6)動作值:動作值是指接觸器的吸合電壓和釋放電壓。規定接觸器的吸合電壓大于線圈額定電壓的85%時應可靠吸合,釋放電壓不高于線圈額定電壓的70%。
常用的交流接觸器有CJl0、CJl2、CJ10X、CJ20、CJXl、CJX2、3TB和3TD等系列。
接觸器的選擇
(1)根據負載性質選擇接觸器的類型。
(2)額定電壓應大于或等于主電路工作電壓。
(3)額定電流應大于或等于被控電路的額定電流。對于電動機負載,還應根據其運行方式適當增大或減小。
(4)吸引線圈的額定電壓與頻率要與所在控制電路的選用電壓和頻率相一致。
四、起動器
起動器用于三相異步電動機的起動和停止控制,它是一種成套的低壓控制裝置。
常用的起動器有QC型電磁起動器,用于遠距離直接控制三相籠型異步電動機的起動、停止及正反轉控制,主要由接觸器和熱繼電器組成;QJ型減壓起動器采用自耦變壓器降壓,用于控制三相籠型異步電動機的不頻繁減壓起動控制;QX型起動器為星形-三角形降壓起動器。各種起動器控制電路根據型號和電動機的容量大小而不同,其控制原理在第2章中講解。
五、主令電器
主令電器用于在控制電路中以開關接點的通斷形式來發布控制命令,使控制電路執行對應的控制任務。主令電器應用廣泛,種類繁多,常見的有按鈕、行程開關、接近開關、萬能轉換開關、主令控制器、選擇開關、足踏開關等。
按鈕
按鈕是一種最常用的的主令電器,其結構簡單,控制方便。
1.按鈕的結構、種類及常用型號
按鈕由按鈕帽、復位彈簧、橋式觸點和外殼等組成,其結構示意圖及圖形符號如圖4所示。觸點采用橋式觸點,額定電流在5A以下。觸點又分常開觸點(動斷觸點)和常閉觸點(動合觸點)兩種。
按鈕從外形和操作方式上可以分為平鈕和急停按鈕,急停按鈕也叫蘑菇頭按鈕,如圖4(c)所示,除此之外還有鑰匙鈕、旋鈕、拉式鈕、萬向操縱桿式、帶燈式等多種類型。

圖4按鈕結構示意圖及圖形符號
從按鈕的觸點動作方式可以分為直動式和微動式兩種,圖4中所示的按鈕均為直動式,其觸點動作速度和手按下的速度有關。而微動式按鈕的觸點動作變換速度快,和手按下的速度無關,其動作原理如圖5所示。動觸點由變形簧片組成,當彎形簧片受壓向下運動低于平形簧片時,彎形簧片迅速變形,將平形簧片觸點彈向上方,實現觸點瞬間動作。
小型微動式按鈕也叫微動開關,微動開關還可以用于各種繼電器和限位開關中,如時間繼電器、壓力繼電器和限位開關等。

圖5微動式按鈕動作原理圖
按鈕一般為復位式,也有自鎖式按鈕,最常用的按鈕為復位式平按鈕,如圖5(a)所示,其按鈕與外殼平齊,可防止異物誤碰。
2.按鈕的顏色
紅色按鈕用于“停止”、“斷電”或“事故”。
綠色按鈕優先用于“起動”或“通電”,但也允許選用黑、白或灰色按鈕。
一鈕雙用的“起動”與“停止”或“通電”與“斷電”,即交替按壓后改變功能的,不能用紅色按鈕,也不能用綠色按鈕,而應用黑、白或灰色按鈕。
按壓時運動,抬起時停止運動(如點動、微動),應用黑、白、灰或綠色按鈕,最好是黑色按鈕,而不能用紅色按鈕。
用于單一復位功能的,用藍、黑、白或灰色按鈕。
同時有“復位”、“停止”與“斷電”功能的用紅色按鈕。燈光按鈕不得用作“事故”按鈕。
3.按鈕的選擇原則
(1)根據使用場合,選擇控制按鈕的種類,如開啟式、防水式、防腐式等。
(2)根據用途,選用合適的型式,如鑰匙式、緊急式、帶燈式等。
(3)按控制回路的需要,確定不同的按鈕數,如單鈕、雙鈕、三鈕、多鈕等。
(4)按工作狀態指示和工作情況的要求,選擇按鈕及指示燈的顏色。
其中表1-1給出了按鈕顏色的含義。

表1-1按鈕顏色的含義
行程開關
行程開關又叫限位開關,它的種類很多,按運動形式可分為直動式、微動式、轉動式等;按觸點的性質分可為有觸點式和無觸點式。
1.有觸點行程開關
有觸點行程開關簡稱行程開關,行程開關的工作原理和按鈕相同,區別在于它不是靠手的按壓,而是利用生產機械運動的部件碰壓而使觸點動作來發出控制指令的主令電器。它用于控制生產機械的運動方向、速度、行程大小或位置等,其結構形式多種多樣。
圖6所示為幾種操作類型的行程開關動作原理示意圖及圖形符號。
行程開關的主要參數有型式、動作行程、工作電壓及觸頭的電流容量。目前國內生產的行程開關有LXK3、3SE3、LXl9、LXW和LX等系列。
常用的行程開關有LX19、LXW5、LXK3、LX32和LX33等系列。

2.無觸點行程開關
無觸點行程開關又稱接近開關,它可以代替有觸頭行程開關來完成行程控制和限位保護,還可用于高頻計數、測速、液位控制、零件尺寸檢測、加工程序的自動銜接等的非接觸式開關。由于它具有非接觸式觸發、動作速度快、可在不同的檢測距離內動作、發出的信號穩定無脈動、工作穩定可靠、壽命長、重復定位精度高以及能適應惡劣的工作環境等特點,所以在機床、紡織、印刷、塑料等工業生產中應用廣泛。
無觸點行程開關分為有源型和無源型兩種,多數無觸點行程開關為有源型,主要包括檢測元件、放大電路、輸出驅動電路3部分,一般采用5V~24V的直流電流,或220V交流電源等。如圖7所示為三線式有源型接近開關結構框圖。

接近開關按檢測元件工作原理可分為高頻振蕩型、超聲波型、電容型、電磁感應型、永磁型、霍爾元件型與磁敏元件型等。不同型式的接近開關所檢測的被檢測體不同。
電容式接近開關可以檢測各種固體、液體或粉狀物體,其主要由電容式振蕩器及電子電路組成,它的電容位于傳感界面,當物體接近時,將因改變了電容值而振蕩,從而產生輸出信號。
霍爾接近開關用于檢測磁場,一般用磁鋼作為被檢測體。其內部的磁敏感器件僅對垂直于傳感器端面的磁場敏感,當磁極S極正對接近開關時,接近開關的輸出產生正跳變,輸出為高電平,若磁極N極正對接近開關時,輸出為低電平。
超聲波接近開關適于檢測不能或不可觸及的目標,其控制功能不受聲、電、光等因素干擾,檢測物體可以是固體、液體或粉末狀態的物體,只要能反射超聲波即可。其主要由壓電陶瓷傳感器、發射超聲波和接收反射波用的電子裝置及調節檢測范圍用的程控橋式開關等幾個部分組成。
高頻振蕩式接近開關用于檢測各種金屬,主要由高頻振蕩器、集成電路或晶體管放大器和輸出器3部分組成,其基本工作原理是當有金屬物體接近振蕩器的線圈時,該金屬物體內部產生的渦流將吸取振蕩器的能量,致使振蕩器停振。振蕩器的振蕩和停振這兩個信號,經整形放大后轉換成開關信號輸出。
接近開關輸出形式有兩線、三線和四線式幾種,晶體管輸出類型有NPN和PNP兩種,外形有方型、圓型、槽型和分離型等多種,圖8為槽型三線式NPN型光電式接近開關的工作原理圖和遠距分離型光電開關工作示意圖。

接近開關的主要參數有型式、動作距離范圍、動作頻率、響應時間、重復精度、輸出型式、工作電壓及輸出觸點的容量等。接近開關的圖形符號可用圖9表示。

接近開關的產品種類十分豐富,常用的國產接近開關有LJ、3SG和LXJ18等多種系列,國外進口及引進產品亦在國內有大量的應用。
3.有觸點行程開關的選擇
有觸點行程開關的選擇應注意以下幾點:
(1)應用場合及控制對象選擇。
(2)安裝環境選擇防護形式,如開啟式或保護式。
(3)控制回路的電壓和電流。
(4)機械與行程開關的傳力與位移關系選擇合適的頭部形式。
4.接近開關的選擇
(1)工作頻率、可靠性及精度。
(2)檢測距離、安裝尺寸。
(3)觸點形式(有觸點、無觸點)、觸點數量及輸出形式(NPN型、PNP型)。
(4)電源類型(直流、交流)、電壓等級。
轉換開關
轉換開關是一種多檔位、多觸點、能夠控制多回路的主令電器,主要用于各種控制設備中線路的換接、遙控和電流表、電壓表的換相測量等,也可用于控制小容量電動機的起動、換向、調速。
轉換開關的工作原理和凸輪控制器一樣,只是使用地點不同,凸輪控制器主要用于主電路,直接對電動機等電氣設備進行控制,而轉換開關主要用于控制電路,通過繼電器和接觸器間接控制電動機。常用的轉換開關類型主要有兩大類,即萬能轉換開關和組合開關。二者的結構和工作原理基本相似,在某些應用場合下二者可相互替代。轉換開關按結構類型分為普通型、開啟組合型和防護組合型等;按用途又分為主令控制用和控制電動機用兩種。轉換開關的圖形符號和凸輪控制器一樣。
轉換開關的觸點通斷狀態也可以用圖表來表示,4極5位轉換開關如表1-2所示。

轉換開關的主要參數有型式、手柄類型、觸點通斷狀態表、工作電壓、觸頭數量及其電流容量,在產品說明書中都有詳細說明。
常用的轉換開關有LW2、LW5、LW6、LW8、LW9、LWl2、LWl6、VK、3LB和HZ等系列,其中LW2系列用于高壓斷路器操作回路的控制,LW5、LW6系列多用于電力拖動系統中對線路或電動機實行控制,LW6系列還可裝成雙列型式,列與列之間用齒輪嚙合,并由同一手柄操作,此種開關最多可裝60對觸點。
轉換開關的選擇可以根據以下幾個方面進行:
(1)額定電壓和工作電流。
(2)手柄型式和定位特征。
(3)觸點數量和接線圖編號。
(4)面板型式及標志。
六、電阻器
電阻是電氣產品中不可缺少的電氣元件,可分為兩大類,一類為電阻元件,用于弱電電子產品,一類為工業用電阻器件(簡稱電阻器),用于低壓強電交直流電氣線路的電流調節以及電動機的起動、制動和調速等。
常用的電阻器有ZB型板形和ZG型管形電阻器,用于低壓電路中的電流調節。ZX型電阻器主要用于交直流電動機的起動、制動和調速等。
電阻器的主要技術參數有額定電壓、發熱功率、電阻值、允許電流、發熱時間常數、電阻誤差及外形尺寸等。電阻器的圖形符號如圖10所示。

圖10電阻器和變阻器圖形符號
七、變阻器
變阻器的作用和電阻器的作用類似,不同點在于變阻器的電阻是連續可調的,而電阻器的每段電阻固定,在控制電路中可采用串并聯或選擇不同段電阻的方法來調節電阻值,電阻值是斷續可調的。
常用的變阻器有BC型滑線變阻器,用于電路的電流和電壓調節、電子設備及儀表等電路的控制或調節等。BL型勵磁變阻器用于直流電機的勵磁或調速;BQ型起動變阻器用于直流電動機的起動;BT型變阻器用于直流電動機的勵磁或調速;BP型頻敏變阻器用于三相交流繞線式異步電動機的起動控制。變阻器的主要技術參數和電阻器類似。變阻器的圖形符號如圖10所示。
八、電壓調整器
電壓調整器的種類較少,TD4型炭阻式電壓調整器用于在中小容量的交流或直流發電機中自動調節電壓。
九、電磁鐵
常用的電磁鐵有MQ型牽引電磁鐵、MW型起重電磁鐵、MZ型制動電磁鐵等。
MQ型牽引電磁鐵用于在低壓交流電路中作為機械設備及各種自動化系統操作機構的遠距離控制。
MW型起重電磁鐵用于安裝在起重機械上吸引鋼鐵等磁性物質。
MZD型單相制動電磁鐵和MZS型三相制動電磁鐵一般用于組成電磁制動器,由制動電磁鐵組成的TJ2型交流電磁制動器的示意圖如圖11所示,通常電磁制動器和電動機軸安裝在一起,其電磁制動線圈和電動機線圈并聯,二者同時得電或電磁制動線圈先得電之后電動機緊隨其后得電。電磁制動器線圈得電吸引銜鐵使彈簧受壓,閘瓦和固定在電動機軸上的閘輪松開,電動機旋轉,當電動機和電磁制動器同時失電時,在壓縮彈簧的作用下閘瓦將閘輪抱緊,使電動機制動。
電磁鐵的圖形符號和電磁制動器一樣,文字符號為YA。

電磁制動器的圖形符號如圖11所示。
Delta德爾塔儀器低壓電器元件及成套開關檢測設備系列產品應用于低壓開關設備和控制設備、分線箱、母線槽、低壓斷路器(萬能式斷路器ACB、塑殼斷路器MCCB、工業漏電斷路器CBR)、開關、隔離器、隔離開關以及熔斷器組合電器等、機電式接觸器和電動機起動器、直流接觸器、真空接觸器、熱繼電器、電子式過載繼電器等、控制電路電器和開關元件:接觸式繼電器、中間繼電器、按鈕、旋轉開關、腳踏開關、接近開關、壓力開關、熱敏開關、行程開關、微動開關、液位開關、指示燈、固態繼電器、工業用插頭插座和耦合器、低壓熔斷器等進行物理機械性能,電壓降測定,溫升試驗,絕緣電阻和耐壓試驗,額定接通和分解能力試驗,短路接通和分斷能力試驗,短時耐受電流能力試驗,動作特性試驗,時間特性試驗,壽命可靠性試驗,抗擾度試驗等測試項目。