

gaoshengkeji@163.com

1.1 傳導騷擾抗擾度概述
本標準主要介紹國際標準IEC61000-4-6,對應國家標準GB/T17626.6《電磁兼容 試驗和測量技術 射頻場感應的傳導騷擾抗擾度》的試驗方法。
1.2 傳導騷擾抗擾度試驗目的和應用場合
本標準所涉及的主要騷擾源是來自9kHz~80MHz頻率范圍內射頻發射機產生的電磁場。該電磁場會作用于電氣、電子設備的電源線、通信線和接口電纜等連接線路上,這些連接引線的長度則可能與干擾頻率的幾個波長相當,因此,這些引線就變成被動天線,接受外界電磁場的感應,引線電纜就可以通過傳導方式耦合外界干擾到設備內部(最終以射頻電壓和電流所形成的近場電磁騷擾到設備內部)對設備產生干擾。從而影響設備的正常運行。所以,本標準的目的主要是建立一個評估射頻場感應的傳導騷擾抗擾度性能的公共參考,為有關產品的專業技術委員會或用戶和制造商提供一個基本參考。
2 傳導騷擾抗擾度常見術語
2.1 人工手
模擬正常工作條件下,手持式電氣設備和地之間的人體阻抗的電網絡
2.2 輔助設備
為受試設備正常運行提供所需信號的設備和檢驗受試設備性能的設備。
2.3 注入鉗
u 電流鉗
由被注入信號的電纜構成的二次繞組實現的電流變換器。
u 電磁鉗
由電容和電感耦合相組合的注入裝置。
2.4 共模阻抗
在某一端口上共模電壓和共模電流之比。
2.5 耦合系數
在耦合裝置的受試設備端口所獲得的開路電壓(電動勢)與信號發生器輸出端上的開路電壓的比值
2.6 耦合網絡
以規定的阻抗從一電路到另一電路傳輸能量的電路。
2.7 去耦網絡
防止施加給受試設備的測量信號影響不被測量的其他裝置、設備或系統的電路。
2.8 電壓駐波比
沿線最大電壓和鄰近最小電壓幅度之比。
3 傳導騷擾抗擾度試驗等級
u 在9kHz~150kHz頻率范圍內,對來自射頻發射機的電磁場所引起的感應騷擾不要求測量。
u 在150kHz~80kHz頻率范圍內,對來自射頻發射機的電磁場所引起的感應騷擾的抗擾度試驗應根據設備和電纜最終安裝時所處電磁環境按下面表格選擇相應的試驗等級。
頻率范圍150kHz~80MHz
試驗等級
頻率范圍150kHz~80MHz
試驗等級
試驗等級
頻率范圍150kHz~80MHz | ||
試驗等級 | 電壓(有效值) | |
U0,dBμV | U0,V | |
1 2 3 X | 120 130 140 | 1 3 10 |
特定 | ||
1)X是一個開放等級 | ||
? 1類:低電平輻射環境。無線電電臺/電視臺位于大于1km的距離上的典型電平和低功率發射接收機的典型電平。
? 2類:中等電磁輻射環境。用在設備鄰近的低功率便攜式發射接收機(典型額定值小于1W)。典型的商業環境。
? 3類:嚴酷電磁發射環境。用于相對靠近設備,但距離小于1m的手提式發射接收機(≥2W)。用在靠近設備的高功率廣播發射機和可能靠近工、科、醫設備。典型的工業環境。
? ×類:×是由協商或產品規范和產品標準規定的開放等級。
u 對總尺寸小于0.4m,并且沒有傳導電纜(如電源線、信號線或地線)的設備,標準規定不需要進行此項試驗。比如采用電池供電的設備,當他與大地或其他任何設備沒有連接,并且不在充電時使用,則不需要做此項實驗,但設備在充電期間也要使用,則必須做此項實驗。
u 標準中規定頻率范圍為150kHz~80MHz,但實際測試的頻率范圍可根據受試設備的情況分析后確定,當受試設備尺寸比較小時,試驗頻率最大可以擴展到230MHz。
4 傳導騷擾抗擾度試驗設備
4.1 信號發生器
a 能覆蓋9kHz~230MHz的頻段范圍,具備幅度和調制功能,能手動或自動掃描,掃描點的駐留時間以及測試的頻率-步長可以編程控制。
b 具備幅度調制功能(內調制或外調制),調制度80%±5%,調制頻率為1kHz±10%的正弦波
c 信號發生器輸出阻抗為50Ω
d 信號發生器任何雜散譜線應至少比載波電平低15dB
e 輸出電平足夠高,能覆蓋試驗電平
4.2 6dB固定衰減器
a 減小從功率放大器到網絡的失配
b 具有足夠額定功率
4.3 耦合和去耦裝置
a 將干擾信號很好地耦合到與受試設備相連的各種類型的電纜上;
b 防止施加給受試設備的射頻干擾電壓影響不被測試的其他裝置、設備或系統的其他電路。
c 提供穩定的信號源阻抗。
4.4 鉗注入裝置
鉗注入方式特別適合于對多芯電纜的試驗。鉗注入方式中,耦合和去耦合功能是分開的,鉗注入僅僅提供耦
合,去耦功能是建立在輔助設備上的,也就是說輔助設備是耦合去耦合裝置的一部分。其中鉗注入裝置包括:
a 電流鉗
b 電磁鉗
5 傳導騷擾抗擾度試驗方法
5.1 試驗方法及其選擇
A.試驗方法
CDN法
標準推薦首先選擇CDN進行射頻傳導干擾抗擾度測試。CDN可以應用于大多數類型的電纜,如電源線,平衡線,屏蔽線,音頻線和同軸線等。根據不同電纜,選擇合適的CDN進行測試。試驗所用到的CDN主要有:

將試驗信號發生器的干擾信號通過100Ω電阻直接注入到同軸電纜的屏蔽層上(即使屏蔽層未接地或僅僅只有一個接地點)
電磁鉗
電磁鉗其結構較復雜,它與受試設備的電纜之間是通過感性和容性耦合將射頻能量耦合到受試設備的電纜上。電磁耦鉗在1.5MHz以上頻率時對試驗結果有良好的再現性;當頻率高于10MHz時,電磁耦鉗比常規的電流鉗有較好的方向性,并且在輔助設備信號參考點與參考接地板之間不再要求有專門的阻抗,因此使用更方便。
電流鉗
電流鉗利用被測設備的電纜組成二次側,與電流鉗一起建立一感性耦合,將射頻能量注入到受試設備的電纜上。為了使電流鉗和電纜之間的電容耦合最小,試驗時應將電纜放在電流鉗的中心位置。另外由于電流注入探頭沒有方向性,在試驗中輔助設備將與EUT一起承受干擾。

5.2 傳導騷擾抗擾度試驗布置以及測試
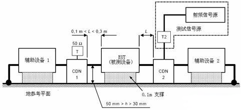
A. 典型的試驗布置如下:

u 受試設備應放在參考地平面上面0.1m高的絕緣支架上。對于臺式設備,參考接地板也可以放在試驗桌上。所有與被測設備連接的電纜應放置于地參考平面上方至少30mm的高度上,并且被測設備距任何金屬物體至少0.5m以上。
u 如果設備被設計為安裝在一個面板、支架和機柜上,那么它應該在這種配置下進行測試。當需要用一種方式支撐測試樣品時,這種支撐應由非金屬、非導電材料構成。
u 在需要使用耦合和去耦裝置的地方,它們與被測設備之間的距離應在0.1m到0.3m之間,并與參考接地板相連。耦合和去耦裝置與被測設備之間的連接電纜應盡可能短,不允許捆扎或盤成圈。
u 對于被測設備其他的接地端子也應通過耦合和去耦網絡CDN-M1與參考接地板相連接。
u 對于所有的測試,被測設備與輔助設備之間電纜的總長度(包括任何所使用的耦合去耦網絡的內部電纜)不應超過被測設備制造商所規定的最大長度。
u 如果被測設備有鍵盤或手提式附件,那么模擬手應放在該鍵盤或者纏繞在附件上,并與參考接地板相連接。
u 應根據產品委員會的規范,連接受試設備工作所要求的輔助設備,例如,通訊設備、調制解調器、打印機、傳感器等,以及為保證任何數據傳輸和功能評價所必需的輔助設備,這些設備均應通過耦合和去耦裝置連接到受試設備上。
B. 試驗步驟
1. 被測設備應在預期的運行和氣候條件下進行測試。記錄測試時的環境溫度和相對濕度。
2. 試驗系統的校準,每次試驗前應對試驗系統進行校準,避免產生測試誤差,確保系統滿足必須的共模阻抗。
3. 依次將試驗信號發生器連接到所選用的耦合裝置上(耦合和去耦網絡、電磁鉗、電流注入探頭)。
4. 根據要求設置試驗電平的等級,掃頻范圍是從150kHz到80MHz或230MHz,用1kHz正弦波調幅,調制度為80%調制干擾信號電平。頻率遞增掃頻時,步進尺寸不應超過先前頻率值的1%。在每個頻率,幅度調制載波的駐留時間應不低于被測設備運行和響應的必要時間,但是最低不應低于0.5s。敏感的頻率(例如,時鐘頻率)應單獨進行分析。
C. 不同注入方法的特點
u 采用耦合去耦合網絡
1. 全部電源連接推薦使用耦合和去耦網絡。而對于高功率(電流≥16A)和/或復雜電源系統(多相或各種并聯電源電壓)可選擇其它注入法。
--- CDN- M1用于僅有單線供電的電源端口。
--- CDN- M2用于有兩線供電的電源端口。
--- CDN- M3用于有單相帶地線的供電電源端口。
--- CDN- M4用于有三相供電的電源端口。
2. 對非屏蔽的平衡線可由CDN-T2、CDN-T4 或CDN-T8作為耦合和去耦網絡。
--- CDN-T2用于有1個對稱對(2線)的電纜。
--- CDN-T4用于有2個對稱對(4線)的電纜。
--- CDN-T8用于有3個對稱對(8線)的電纜。
3. 對非屏蔽的不平衡線可由CDN-AF作為耦合和去耦網絡。
---CDN-AF2用于兩線的電纜。
采用耦合去耦合網絡典型的布置圖如下:

平面布置圖

采用耦合去耦合網絡注入的程序:
(1)如果輔助設備位于地參考平面之上,那么它要放在高于地參考平面0.1m處。
(2)一個耦合和去耦網絡應接在要被測試的端口上,而一個接有50Ω負載的耦合和去耦網絡連接在另一個端口。去耦網絡應安裝在所有其它連接電纜的端口。在這種方法中,只有一個端接150
(3)選擇合適的耦合和去耦網絡。
(4)如果被測設備只有一個端口,這個端口連接到耦合和去耦網絡上用作注入用途。
u 直接注入法
將試驗信號發生器產生的干擾電壓通過100Ω電阻被注入到同軸電纜的屏蔽層上(即使屏蔽層未接地或僅僅只有一個接地點)。在輔助設備和注入點之間,并盡可能靠近注入點插入一個去耦電路。為了提高去耦和穩定電路,應將直接注入裝置輸入端口的地與參考地平面連接。
直接注入的程序:
(a)受試設備應放置在距地參考平面0.1m高度的絕緣支撐上。
(b)在被測電纜上,去耦網絡應位于注入點和輔助設備之間,盡可能靠近注入點。第二個端口應用150Ω的負載端接(耦合和去耦網絡用50Ω負載端接)。這個端口應按照7.2中的優先次序選擇。在所有其它與被測設備連接的電纜上應安裝去耦網絡(當端口開路,耦合和去耦網絡可以認為是去耦網絡)。
(5) 注入點應位于參考地平面上方,從被測設備的幾何投影到注入點之間的距離為0.1m至0.3m。
(6)測試信號應通過100Ω電阻直接注入到電纜屏蔽層上。
u 鉗注入法
對非屏蔽多芯電纜,用鉗注入法更合適。使用鉗注入前,必須對電流鉗或電磁鉗進行校準。試驗配置圖如下:
針對被測設備呈現不同的共模阻抗,可以采用兩種不同的注入方法:
(7)當滿足共模阻抗要求時的鉗注入的程序
當使用前注入法時,每一個用于鉗注入的輔助設備應盡可能的代表功能性安裝條件。為了滿足近似所需的共模阻抗的要求,應采取以下措施:
--- 用于鉗注入的每一個輔助設備應放置在距地參考平面0.1m高度的絕緣支撐上。
--- 去耦網絡應安裝在輔助設備與被測設備之間的每一條電纜上,被測電纜除外。
--- 連接到每一個輔助設備的所有電纜,除了被連接到被測設備上的電纜,應為其提供去耦網絡,如下圖所示
--- 連接到每個輔助設備的去耦網絡(除了在被測設備和輔助設備之間的電纜上的網絡)距輔助設備的距離不應超過0.3m。輔助設備與去耦網絡之間的電纜或輔助設備與注入鉗之間的電纜即不捆扎,也不盤繞,且應保持在高于地參考平面30mm至50mm的高度。
--- 被測電纜一端是被測設備,另一端是輔助設備。可以連接多個耦合和去耦網絡到被測設備和輔助設備;然而,在每個被測設備和輔助設備上只有一個耦合和去耦網絡因被端接50Ω負載。
--- 當使用多個注入鉗時,每根電纜上的注入測試應一根接一根依次進行。被選擇注入鉗測試的電纜在沒有測試的情況下也進行去耦處理。

(8) 當不滿足共模阻抗要求時的鉗注入的程序
當用鉗注入測試時,如果在輔助設備一側不滿足共模阻抗要求(輔助設備的共模阻抗必須小于或等于受試設備的被測端口的共模阻抗),則必須在輔助設備端口應采取措施(例如,使用CDN-M1或從輔助設備到地之間加150Ω電阻或采用去耦電容),以滿足此條件。
---用鉗注入的每個輔助設備和受試設備應盡可能接近實際運行的安裝條件。例如,將被測設設備連接到參考地平面上或者將其放在絕緣支架上。
---用附加的電流探頭(具有低插入損耗)插入注入鉗和受試設備之間,并監視由感應電壓產生的電流。如果電流超過下面給出的短路電流值Imax,試驗信號發生器電平應一直減小到測量電流等于Imax值:
Imax=U0/150 Ω
在試驗報告中應記錄施加的修正試驗電壓的電平值。

D. 測試結果的評估
測試結果應該按照被測設備的性能降級和功能喪失來分類,與制造商和測試的需求方規定的性能水平有關,或由制造商與產品買方之間的共識。推薦的分類如下:
a) 由生產商,需求方或買方規定的限制中的正常性能。
b) 干擾終止后暫時的性能降級和功能喪失,且直到被測設備恢復其正常性能,沒有人為的干預。
c) 暫時的性能降級和功能喪失,需要人為干預。
d)由硬件或軟件的損壞,或數據的丟失導致無法恢復的性能降級和功能喪失。