

gaoshengkeji@163.com

新型炭黑污染布制作工藝初探
中國家用電器研究院測試技術研究所 潘清 王統帥 張金山
摘要:洗衣機測試用標準炭黑污染布的制作工藝已經用了近30年,其生產工藝嚴重落后于市場化生產的步伐,亟需推出新的生產方法。文章從新的炭黑污染液的配方研究和對染布設備的調研兩方面著手,對生產工藝進行了探討。通過實驗調研,得到了符合標準的水性溶劑炭黑污染液配方和適合標準污染布連續生產的機械設備。
關鍵詞:炭黑污染布 生產工藝 炭黑污染液 機械設備
Preliminary Study on New Carbon Black Soiled Strip Production Process
(China Household Electric Appliance Research Institute,100053)
Abstract: The production process of standard carbon black soiled strip used for washing machine test has been in use for nearly 30 years, seriously lagging behind market-oriented production. A new production method is needed to promote. This article discusses the production process from the two aspects of the new formula of carbon black soiled aqueous solution and the research of dyeing equipment. According to the experiments and researches, the formula of the carbon black soiled aqueous solution and the mechanical equipments suitable for the continuous production of the standard carbon black soiled strip are obtained.
Keywords:Carbon black soiled strip, Production process, Carbon black soiled aqueous solution, Equipment
1 引言
洗衣機測試用標準炭黑污染布是用于檢測洗衣機洗凈性能的標準物質,其質量直接影響到對洗衣機的性能評價。現在生產標準炭黑污染布采用的是傳統的手工浸染方法,需要的人力多(詳見GB/T 4288【1】,生產流程見圖1),對生產者本身要求較高,但生產效率低下,不能滿足大批量生產要求,因此我們需要探索一個可以實現高效生產的染布制作工藝。

圖1 GB/T 4288中炭黑油污染布的制作工藝
2 新型炭黑污染布制作工藝的研究
新工藝的開發首先從新污染液的配制以及改變染布方法兩方面著手進行。
2.1 新型污染液的配制
根據對現有生產配方的研究,污染液配制的關鍵是選擇更好的分散方法使炭黑能夠均勻分散。現用的分散介質是CCl4(四氯化碳),對炭黑的分散效果比其他常用且毒性相對較小的有機溶劑如醇、醚等好,但長期處于CCl4含量高的空氣中,會抑制中樞神經,損害肝、腎等器官。于是考慮在不降低炭黑分散的情況下改變分散介質,將污染液做成均勻、穩定的乳液。制作乳液需要用到乳化劑,考慮到污染布的用途,乳化劑的用量和種類都要少。液體石蠟為有機性最強的油,乳化液體石蠟需要的乳化劑量較多,故而嘗試一些有機性較低的油,最終我們選定蓖麻油。油的種類確定后,根據其HLB值,最恰當的乳化劑為吐溫類(聚氧乙烯失水山梨醇單月桂酸酯,簡稱聚山梨酯或tween),但吐溫水溶性好,不利于洗凈試驗,最終選擇磷脂為乳化劑,同時用阿拉伯樹膠粉作為纖維黏合劑制作污染液。乳液制作與炭黑顆粒的粒徑有直接關系,由于市場直接購買的炭黑粒徑較大,在使用時要將其進行剪切以減小粒徑【2】。
由于需要分析的因素較多,我們設計了一組L25(56)的正交試驗,探討了炭黑、分散劑、蓖麻油、乳化劑、粘合劑以及乳化溫度和時間對污染布的影響。通過對這一系列正交試驗結果的分析,選擇出了各原料的用量以及實驗條件,經過后續的實驗調整,完成了新污染液的配方研究工作。新配方與現有配方的對比見表1:
表1 新老配方對比
原配方 | 新配方 | |
污染液類型 | 粗分散體系 | 乳液 |
分散介質 | 四氯化碳 | 水 |
污染布手感 | 油膩 | 干爽 |
是否適用于機械生產 | 否 | 是 |
新的污染液配方最大的特點在于用水替代了老配方中的CCl4,一方面減少了CCl4的使用降低了污染布生產過程中對空氣的污染,另一方面將污染液做成了乳液,其穩定性遠高于CCl4分散液,可提高同一批產品之間的穩定性。
2.2 染色工藝探討
第二步步的研究是選擇適合洗衣機測試用標準炭黑污染布生產的染色方法。
2.2.1 染色方法
織物染色按照染色方法不同可分為浸染和軋染兩種,兩種方法的比較見表2:
表2 浸染、軋染方法比較
項目 | 浸染 | 軋染 |
定義及方法 | 將被染織物浸漬于染液中,通過染液循環及與被染物的相對運動,借助于染料對纖維的直接性而使染料上染,并在纖維上擴散、固著的染色方法。 | 將織物在染液中經過短暫的浸漬后,隨即用軋輥軋壓,將染液擠入紡織物的組織空隙中,并除去多余的染液,使染料均勻地分布在織物上。浸軋染料后的織物通過汽蒸、焙烘或浸軋處理液等處理完成染料在纖維上的擴散及固著。 |
優缺點 | ①適用于各種形態的紡織品的染色; ②間歇式生產,生產效率較低; ③設備比較簡單,操作較容易。 | ①連續染色加工,生產效率高,適合大批量織物染色; ②染化料、能源消耗大,設備投資大,占地面積大。 |
要求 | 染液各處的溫度和染料、助劑的濃度要均勻一致,被染物各處的溫度也要均勻一致。 | 軋液均勻,用均勻軋車 |
影響均勻性的因素 | 染料、助劑、溫度、濃度、浴比、促染劑等 | 泳移 |
應用 | 廣泛用于散纖維、紗線、針織物、稀薄嬌柔型織物的染色 | 常用于機織物的染色 |
用機械生產代替手工生產是標準炭黑污染布生產的發展方向。染色機械種類很多,按照染色方法可以分為浸染機、卷染機、軋染機等;按被染物的狀態可分為散纖維染色機、紗線染色機、織物染色機;按染色的連續性可分為間歇式染色機和連續式染色機。我們對間歇式染色設備和連續式染色設備進行了對比(見表3):
表3 間歇式染色機和連續式染色機比較
項目 | 間歇式染色機 | 連續式染色機 |
組成 | 除染機外,須配備脫水機、開幅機和烘燥機等 | 主要由軋車、烘干、汽蒸或焙烘、平洗等單元組成 |
染色過程 | (以經軸染色機為例) 織物平整地卷繞在芯軸上→送入經軸染色機內→進水→循環泵循環升溫→染色→染色后處理→降溫→排汽、排液→沖洗→出機 | (以打底機為例) 進布→軋料→紅外線預烘→熱風烘燥→烘筒烘干→落布 |
適用范圍 | 適宜于小批量、多品種和快交貨的市場需求 | 適用于染色工藝穩定、批量較大的織物染色(其中,半連續式染色特別適合小批量多品種的染色加工) |
優點 | 設備比較簡單,操作容易 | 適用范圍廣,實用性強,可一機多用,產品質量好,生產效率高,操作維修方便 |
當今節能環保的新形勢也催生出了一系列節能環保的染色新技術,如氣流染色技術、微波染色技術、微懸浮體染色技術、電化學以及生物色素染色技術等。
2.2.2 染色工藝探討
關于洗衣機測試用標準炭黑污染布的生產,我們可以考慮采用以上詳細介紹的兩種方法來制作。我們實驗室現有的染色機械是我院自行設計的污染布輥壓裝置,其染色流程見圖2,在生產過程中會因軋輥的壓力不均而出現左中右色差。由于染液的分散介質是水,在烘干及懸掛過程中還出現了泳移、上下和正反色差的問題,導致效率較之人工浸染工藝還低。
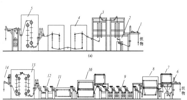
在使用連續軋染機時,可以通過采取一系列調控措施解決上述問題。如圖3所示為熱風打底機,其中,軋車是織物浸軋染料的主要裝置;紅外線,熱風和烘筒烘燥都屬于烘干裝置。在使用污染布輥壓裝置生產時遇到的問題,如果再次出現,也有以下幾種解決方法(見表4)。

圖2 污染布輥壓裝置染布工藝

圖3 熱風打底機
1-進布裝置,2-均勻軋車,3-紅外線烘燥機,4-橫導輥熱風烘燥機,5-烘筒烘燥機
表4 解決方法
問題 | 解決辦法 |
左中右色差 | ①可加入恰當的滲透劑,使織物均勻吸液; ②使用均勻軋車 |
泳移、上下色差 | ①降低軋余率; ②采用紅外線預烘→熱風烘干→烘筒烘干(溫度由低到高) |
前后色差 | ①穩定軋車壓力 ②穩定車速 |
正反色差 | 調整紅外線和熱風烘燥 |
用機械生產代替手工浸染是生產洗衣機測試用標準炭黑污染布的方向,目前認為熱風打底機可以滿足洗衣機測試用標準炭黑污染布的生產需要。
3 結論
通過實驗調研,我們對洗衣機測試用標準炭黑污染布生產工藝的改良工作已有了初步的成果,下一步的工作重點就在于購買染布設備并進行調試,以期早日完善工藝,使標準炭黑污染布的連續化生產步入正軌,高效率生產出質量穩定的標準污染布。
參考文獻
1.GB/T 4288-2008.《家用和類似用途電動洗衣機》
2.林麗雋.水性炭黑色漿的制備及性能研究[D].廣州:華南理工大學,2012:10